根据最新披露的技术专利,微软内部可能正在开发一种“深度和多光谱”的摄像头,有望装备在Surface Neo/Duo等未来Surface设备上。从专利描述来看,微软的多光谱相机在长距离以及其他几个方面都可以超过苹果的TrueDepth相机。

这项专利的标题为“使用深度和多光谱相机进行对象识别”(OBJECT RECOGNITION USING DEPTH AND MULTI-SPECTRAL CAMERA),于2019年下半年获得批准和收录。因此这个收录节点和Surface Neo/Duo发售时间吻合。
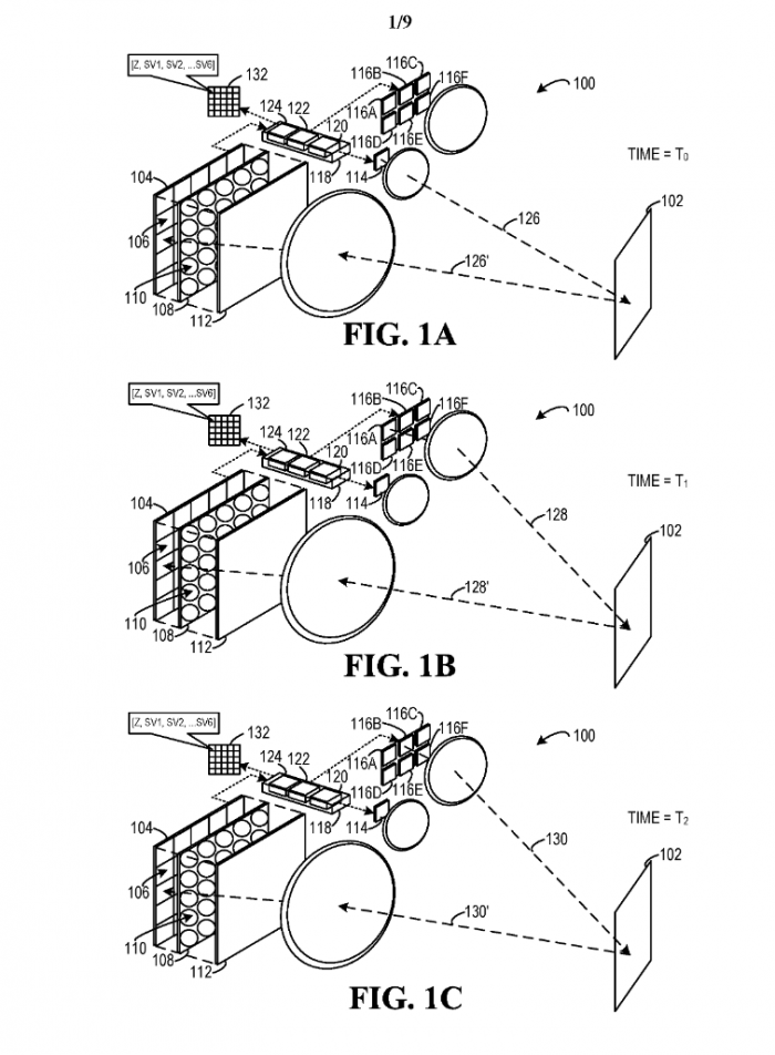
虽然目前不能完全确定这项技术就会装备在Surface Duo/Neo上,但外媒推测微软在发售高端的双屏设备的时候想必不希望依然基于传统的2D面部识别摄像头。在专利中描述了能够输出深度多光谱图像的相机,而且每个像素都会至少包含一个深度值和光谱值。通过深度+多光谱图像的物体识别来了解物体的结构产生输出。
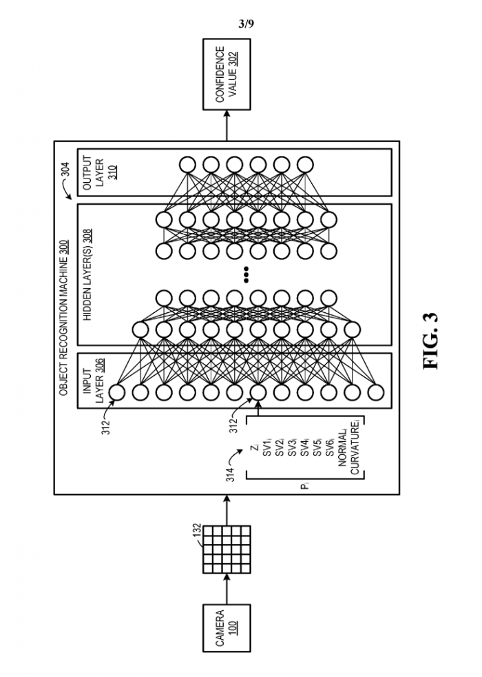
在专利描述中,微软表示会使用卷积神经网络来识别包括人脸形状、轮廓和脸部特征(诸如鼻子、眼睛和嘴唇)等2D视觉特征,并识别包括前额和下巴等脸部3D视觉特征。卷积的某些层旨在理解和检测面部的光谱特征,例如雀斑或眼睛颜色。





